香港轉運:海外代購這樣發貨才更順暢
海外代購為什么都都選擇香港轉運?
郵寄代購物品到過國內,您的代購物品還能順暢郵寄回國內嗎?
一二線還能寄嗎?還是要等轉運公司集貨后慢慢轉運嗎?
郵政直郵回國內還是遇到各種卡嗎?是不是還是很多不順?
大量的代購客戶已經在選擇香港轉運方案,國際快遞到香港,再經香港e特快直郵內地,似乎相對其他轉運方案更順暢,更快呢!

一、為什么代購要選擇香港e特快轉運國內呢?
1、香港e特快是正規的郵政線路,相比其他各種渠道更加正規安全,風險更小。
2、國際快遞或者空運到香港很方便,也可以轉運,當然國際快遞和空運肯定會快很多。直接國際快遞到香港時效較快。
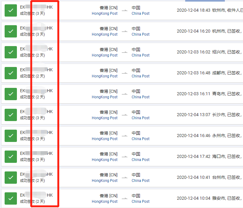
3、香港e特快直郵全國各地和廣東省內時效可以參照圖片的,圖片是香港處理中心發出后的時效,可以秒殺其他各種渠道了。
4、香港e特快直郵內地,不需要等集貨等拼車等,不會耽誤時間,一兩個包裹都可以來,都能及時發出,處理中心天天發車,紅旗速運每天都不定時發貨。
5、廣州郵局海關365天不間斷清關,處理能力秒殺其他任何快件口岸。
6、香港e特快和郵政線路一樣的操作方式,簡單方便。貨物限制也比轉運少很多,能滿足代購一二線和其他普通貨物發貨需求。

二、發香港e特快相比其他郵政,轉運有什么優勢?
1、香港e特快是郵政線路,但是在所有郵政線路里面只有香港e特快支持DDP寄件人付稅模式,全部貨物在廣州清關,全程支持網頁端和手機端處理所有事項。發貨體驗是所有郵政線路里面最好的,也是最順的。
2、香港e特快也支持DDU收件人付稅模式,和其他郵政一樣屬地清關,目的地不同,所屬海關不同,相對清關環境不穩定,每個地方個有差異,相比DDP模式還是差很多。香港e特快相比其他郵政更順暢,體驗更好。速度也更快。
3、發貨到香港,落地紅旗速運香港倉,可以提供打包貼單服務,能滿足客戶的需求。
4、香港e特快操作簡單比轉運相對更簡單,比cc清關的優勢更大,能做的品名多,能滿足代購的一二線衣服,鞋,包,化妝品,保健品,食品,其他日用類等各種個人物品發貨需求。
5、香港e特快處理中心天天發車,郵局海關不間斷清關,整體時效要比轉運快很多!發轉運可能需要集貨等待,然后再轉運國內cc口岸排隊清關,整體時效遠不如香港e特快直郵快。

三、紅旗速運能給客戶提供什么服務?
1、紅旗速運香港倉可以接收國際件,可以滿足客戶的發貨需求,可以各種方式發至香港倉。
2、紅旗速運有專業的打包團隊,可以滿足客戶打包,分拆,貼單等需求,可以按照客戶訂單打包發貨。
3、紅旗速運為客戶提供香港e特快清關查詢服務,一直為快遞,物流,集運,商家,電商,等批量發貨的客戶提供清關查詢服務,能第一時間解決清關異常問題。同時也惠及每個客戶,有異常都會第一時間通知到每個客戶。
4、紅旗速運還為大宗發貨客戶提供了萬票級物流軌跡查詢,上萬個郵件派送軌跡,都可以高效查詢,為客戶提供高效查詢服務。
5、紅旗速運多年專注香港e特快,為客戶提供專業高效的香港e特快直郵服務,每個客戶發貨都會有專業的發貨建議,讓您的發貨體驗更完美。
我們為客戶推薦香港轉運方案,經香港e特快直郵全國各地更順暢,相關香港e特快更多資訊,可以關注紅旗速運官網和公眾號,也可以百度或者google搜索香港e特快和紅旗速運。

你可能會好奇,香港代收到底能收啥?嘿,范圍可廣了!不管是海淘
香港代收服務可不挑剔,啥都能收!無論是個人海淘的衣服、鞋子、
只要海外網站支持香港地址,就能解鎖香港代收服務。海淘大軍的背
1.海外代購:把化妝品/包包/電子產品寄到紅旗速運香港倉
有些人可能納悶,香港代收到底能干啥?答案是:啥都能接!不管你